發明內容
本實用新型的目的是提供一種低凈空式鋼絲繩電動葫蘆,此低凈空式鋼絲繩電動葫蘆自重輕,起吊重量大。為了達到上述目的,本實用新型的低凈空式鋼絲繩電動葫蘆,包括導軌、電動小車和起升機構,導軌是固定于建筑物上的行車工字鋼或槽鋼,起升機構由電動葫蘆、吊鉤和鋼絲繩組成,鋼絲繩的一端繞在電動葫蘆的卷筒上,鋼絲繩穿繞過吊鉤上的滑輪,另一端固定在行走機構上,電動小車由小車、電動機、減速器和車輪組成,減速器的輸入端與電動機的輸出軸連接,車輪與減速器的輸出軸連接,減速器固定在小車上,小車由墻板、連接軸和調整螺栓組成,連接軸位于兩塊墻板下端并與墻板連接,調整螺栓在連接軸上方并與墻板連接,電動小車的車輪安裝在導軌上,起升機構安裝在行走機構上,其特征在于:小車的墻板截面為框形結構。
因為小車的墻板截面為框形結構,根據材料力學分析可知,在使用同種材料的情況下,采用框形結構的構件在同等抗彎矩模量情況下,比采用單塊平直板結構的重量要輕,也就是說,采用框形結構的墻板可以減輕其重量;如果在相同重量的情況下,框形結構的墻板可承載載荷要大,這樣,本實用新型的低凈空式鋼絲繩電動葫蘆的起吊重量大。因為小車的墻板截面為框形結構,框形結構的墻板可承載載荷大,框形結構不易變形,調整螺栓所受的力也相應變小,可采用比傳統鋼絲繩電動葫蘆更小的調整螺栓,使整個低凈空式鋼絲繩電動葫蘆自重更輕,材料成本也得到降低。本實用新型的低凈空式鋼絲繩電動葫蘆自重輕,起吊重量大。
附圖說明
圖1是墻板為單塊平直鋼板結構的鋼絲繩電動葫蘆的結構示意圖。
圖2是本實用新型實施例的結構示意圖。

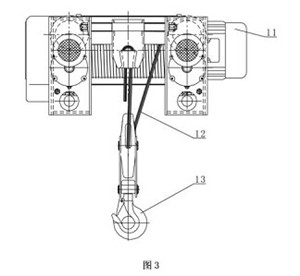
圖3是圖2的側視圖。

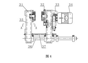
圖4是本實用新型實施例的電動小車的結構示意圖。

圖5是圖4的A-A剖視圖。

具體實施方式
圖1標記的說明:起升機構1,導軌2,電動小
圖2標記的說明:配重4。
圖3標記的說明:電動葫蘆11,鋼絲繩12,吊
圖4標記的說明:小車31,車輪32,減速器3螺栓37。
圖5標記的說明:加強板38,支撐板39。
本實用新型的低凈空式鋼絲繩電動葫蘆自重輕,起吊重量大,它的推廣應用,對提高鋼絲繩電動葫蘆起吊能力、減輕自重和降低材料成本有著積極的意義。